Xiaomi zaprojektowało smartfon, którego ruchomy wyświetlacz zachwyci setki tysięcy ManiaKów. Niezwykły ekran może się wysuwać i zsuwać, powiększając powierzchnię roboczą – oby tylko rozpoczęto produkcję.
Smartfony nastawione tylko na wypasioną specyfikację zaczęły nas nudzić, dlatego chętnie przyglądamy się niecodziennym projektom, patentom oraz pogłoskom o niezwykłych konstrukcjach z Chin. Jak zwykle, największą nadzieją na wprowadzenie ekskluzywnych modeli do sprzedaży jest Xiaomi.
Chińskiemu producentowi wielokrotnie zdarzało się prezentować światu i klientom interesujące telefony, których bali się pokazać inni producenci. Miejmy nadzieję, że tak samo będzie i w tym przypadku, ponieważ smartfon z najnowszego patentu wywołuje opad szczęki.
Smartfon Xiaomi z rolowanym ekranem
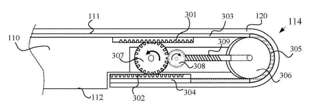
Xiaomi wymyśliło, a następnie opatentowało smartfon z wyświetlaczem umieszczonym na dwóch rolkach znajdujących się w bocznych ramkach obudowy. Mają one za zadanie wysuwać i zsuwać dotykowy ekran, pozwalając mu zmienić swoją przekątną, a nawet proporcje – o nich opowiem za chwilę.
Oczywiście, oprócz rolek specjalna będzie także matryca, ponieważ będzie musiała znieść spore obciążenia mechaniczne i jednocześnie zachować znakomite parametry jakości obrazu. Niemniej jednak warto zwrócić uwagę na dość płaski kształt obudowy oraz brak jakiegokolwiek wcięcia – w tym telefonie możemy zapomnieć o kamerce selfie w dziurce.
Przejdźmy do proporcji. Już wiemy, że nowoczesny Xiaomi będzie mógł zmieniać powierzchnię roboczą, wysuwając i zsuwając wyświetlacz. Co jeszcze ciekawsze, użytkownik będzie mógł wysunąć tylko jedną część ekranu, dzięki czemu dostosuje wyświetlacz do lubianych proporcji, np. 16:9.
Tego nie mamy w innych smartfonach z podobnymi rozwiązaniami – myśląc o nich, na myśl przychodzi mi głównie OPPO Find X 2021 ze zwijaną matrycą. Moim zdaniem przegra on jednak w bezpośrednim pojedynku z nowoczesnym Xiaomi, o ile ten wejdzie do etapu produkcji.
Zachwycający Oppo Mi Mix Alpha na grafikach. Ma większą szansę na sukces od Xiaomi?
Na stronie mogą występować linki afiliacyjne lub reklamowe.






