REKLAMA TP
, Newsy Samsung Telefony #linki-afiliacyjne

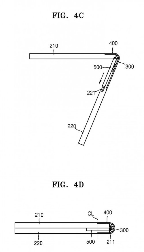
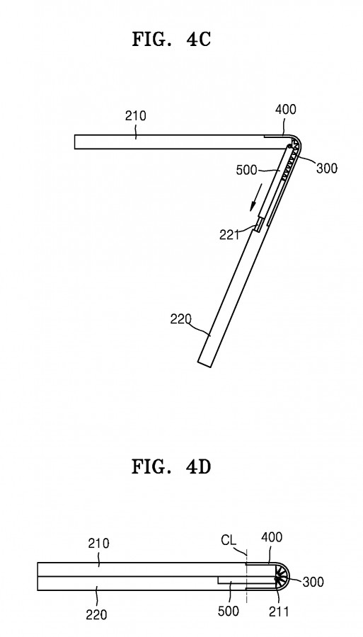
Składany Galaxy Fold to niewypał. Samsung woli bazować na pomysłach konkurencji

Te artykuły także cię zainteresują:
Popularne produkty:

reklama