Wygląda na to, że składany iPhone jest coraz bliżej swojej premiery i nie jest jedynie „wymysłem przecieków”. Dokument patentowy ujawnia, jak może wyglądać ten „cud inżynierii”.
Apple z Timem Cookiem na czele najwidoczniej pracuje nad czymś innowacyjnym. Składany iPhone pojawił się bowiem w bazie Urzędu Patentowego i Znaków Towarowych Stanów Zjednoczonych. Oprócz samego rysunku technicznego, jest także parę ciekawych informacji o jego działaniu.
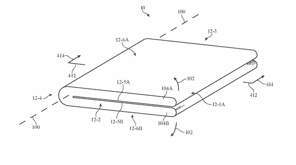
Składany iPhone powstaje? Oto wygląd
Za sprawą chińskiego portalu ITHome do sieci trafiły rysunki techniczne załączone w dokumentach patentowych, które Apple wysłało do USPTO (United States Trademark and Patent Office). W który segment w takim razie chce uderzyć amerykański producent?
Widać, że mamy do czynienia z konstrukcją „Fold”, więc Amerykanie idą w większą formę składanego telefonu. Całkiem ciekawe informacje jednak towarzyszą tymże rysunkom. Jak wspomina źródło, składany iPhone miałby umożliwiać obsługę za pomocą gestów nie tylko na samym ekranie, ale w zasadzie na większości, o ile nie całej powierzchni urządzenia.
Miałoby to zostać uzyskane poprzez coś na wzór „nanostruktury”, która umożliwiałaby zbieranie informacji przez urządzenie o „dotyku” i wykonywanych gestach. Ciężko powiedzieć, jakie konkretnie funkcje może umożliwić takie rozwiązanie, ale patrząc na sam koncept, to możliwości są wręcz nieskończone.
Czy jest to jednak pewnik, że taki model powstanie?
Oczywiście, że nie. Każde przecieki są obarczone możliwością tego, że się nie sprawdzą. Nawet te oparte o dokumenty patentowe. Firmy patentują naprawdę masę rozwiązań, które końcowo czasami nigdy nie zostają użyte w prawdziwym zastosowaniu. Są też osoby czy przedsiębiorstwa, które patentują „wszystko jak leci”, by później przykładowo żądać od kogoś „mamony” za wykorzystanie bądź naruszenie patentu. Prawdziwe z kolei zdają się być informacje o tym, że najnowsze iPhone 16 nie sprzedają się tak dobrze, jak przewidywał producent.
Źródło: ITHome
Na stronie mogą występować linki afiliacyjne lub reklamowe.








